摘要:针对皮卡列车道路试验开展过程中发现的机械连接装置规格与高度匹配、电气接口一致性、轴荷转移、旅居挂车质心偏移、制动系统类型差异、爬坡性能及智能化辅助驾驶功能适配等关键技术问题进行了系统分析,并结合试验发现这些问题会导致皮卡列车在连接安全性、行驶稳定性及功能协调性等方面存在隐患。基于此,从标准化角度提出连接器规格统一、电连接器类型规范、轴荷分配、制动系统升级、爬坡度门槛设定及“牵引”模式配备等具体的标准化建议,以提升皮卡列车的安全性、通用性与用户体验,为相关标准修订与产品设计提供参考。
摘要:冷链运输类专用货车(以下称“冷藏车”)作为移动冷链的核心装备,其合规设计制造直接关乎食品与生物制品安全及冷链物流效率。聚焦整车企业冷藏车设计制造的核心技术标准体系,以强制性国家标准GB29753—2023为核心,系统解构其相较于老版标准的关键修订内容与强制性要求,包括产品分类拓展、温度监测追溯机制完善、车厢核心性能指标升级等。同时,梳理该标准与通用安全、环保排放、外廓尺寸等多维技术标准的协同关系,提出从需求定义、架构设计到试验验证的全流程合规实践路径,实现从被动应对标准到主动驱动设计的转型。未来,冷藏车技术将朝着新能源化的绿色低碳方向与网联化、智能化的创新驱动方向深度演进,为整车企业深耕冷链细分市场、适配现代物流发展需求提供技术支撑。
摘要:气压制动系统以其轻巧、便捷可靠的特性在重型汽车上得到广泛运用,其功能直接决定着汽车行驶的可靠性与安全性。为提升全挂车制动性能、降低制动阀体及软管漏气风险,提升使用寿命,同时适应全挂车不同驻车制动工况需求,提出了一种长期驻车的全挂车制动气路设计原理,脱挂后实现了单靠弹簧推力的长期驻车,避免因长期气压驻车导致的管路漏气,后期通过样车路试测试验证合格后,为全挂车气压制动系统性能提升设计提供新的技术支撑。
摘要:目前,传统分布式电气架构在功能集成、系统响应与维护方面的局限性日益显现。据此,围绕集中式电气架构的构成与优化路径展开研究,重点分析了中央计算平台与区域控制器协同架构的系统优势,提出通过构建统一的软件平台实现软硬件解耦,以及升级通信架构以提升数据处理效率与通信安全性。集中式电气架构不仅有助于提升整车控制系统的灵活性与扩展能力,也为自动驾驶、智能座舱等高阶功能的稳定运行提供了坚实支撑。
摘要:针对高强镁合金商用车车轮建立了一种基于拓扑优化的轻量化设计方法。该方法结合参数化建模与拓扑优化技术,以结构重量最小化为目标,在满足弯曲疲劳强度、径向疲劳强度及冲击性能约束的前提下,进行迭代优化设计。同时,借助有限元软件构建疲劳-冲击多物理场耦合模型,用以模拟分析高强镁合金车轮在复杂载荷下的应力应变响应与失效机理,高强镁合金因具有低密度和高比强度的特性,被认为是实现商用车轻量化、提升燃油经济性与载重效率的理想车轮材料。研究结果表明,该设计方法可使车轮减重 15%~20% ,并能同时保证其疲劳寿命与抗冲击性能满足使用要求,为高强镁合金车轮的工程应用提供了有效的设计思路与性能评估依据。
摘要:构建了基于Matlab的客车动力性计算平台,以提升动力性能预测的精度与效率。结合发动机特性和传动效率与行驶阻力建立数学模型,开发支持多线程并行运算的仿真程序,具备最高车速和加速时间与最大爬坡度等指标的快速计算能力。平台引入动态规划优化换挡逻辑,适应多工况应用需求,经实车验证仿真误差控制在 3% 以内,运行效率显著提升,具备较强的工程实用性和推广价值。
摘要:为降低环卫洗扫车作业能耗,对其核心气力部件——高压离心风机的气动性能进行优化至关重要。以某型9-26#前向叶片高压离心风机为研究对象,采用系统工程方法,对其叶轮、蜗壳、集流器等关键部件进行多参数协同优化。首先,建立了包含17个关键几何参数的参数化全数字样机模型,并利用计算流体力学(CFD)方法进行内部流场数值模拟与性能计算,经验证模拟结果与试验数据吻合良好。随后,采用实验设计(DOE)方法构建样本空间,通过多目标遗传算法(MOGA)对风机全压效率、工作全压和轴功率进行多目标优化。研究结果表明:在给定的优化边界条件下,获得了使风机综合性能提升的Pareto最优解集。选取的优化方案可使风机在设计工况点的全压效率从 73.43% 提升至 75.99% ,轴功率从 33.76kW 降低至 30.34kW ,降幅达 10.13% ,同时全压满足作业要求。优化后的内部流场显示,气流组织更为顺畅,涡流与分离损失显著减少。本研究为环卫车辆专用高压离心风机的快速性能改进与能耗降低提供了一种有效的优化设计流程。
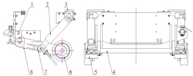
摘要:针对公铁两用车轨道行驶时弯道处易发生脱轨的行驶安全问题,围绕公铁两用车导向轮对接轨压力和牵引钩,研究导向轮对左右两端接轨压力的柔性调节控制,以及能够折叠、摆动、加长的牵引钩构型的优化设计,以确保导向轮始终紧贴钢轨,在牵引铁路车辆行驶时顺利通过小曲线半径弯道,防止公铁两用车牵引铁路车辆行驶时脱轨,同时展望了防脱轨技术未来的发展趋势,可为该装备铁路牵引行驶安全设计提供思路,也可用于指导其研发实践。
摘要:为了建立简单又相对精确的圆形液罐晃动模型,首先建立圆形液罐的质量-弹簧-阻尼模型的动力学方程,其次用Fluent软件进行仿真,结合Matlab 软件对模型参数进行辨识,然后用识别出的参数在 Simulink 软件中建立等效机械模型,通过不同的工况来验证该模型的正确性。研究表明,当晃动不是很大时,所建立的等效机械模型可以有效模拟圆形液罐内液体的晃动,并计算出液体晃动产生的侧向力和侧倾力矩。通过此研究,为圆形液罐内液体的晃动分析提供了参考思路。
摘要:为有效解决环卫清洗车高压水路系统压力抖动问题,从进水系统、高压柱塞泵特性、调压卸荷阀特性、负载及操作等多方面进行原因分析,提出有效抑制压力抖动的设计改进与排查方案。通过实际案例,验证所提出的措施能够显著缓解压力抖动现象,降低了对水泵、喷嘴等部件的疲劳损伤,提高了系统工作稳定性及产品使用寿命。
摘要:电子方舱作为某雷达系统重要组成部分,由于受运输平台和空间的限制,需要在有限的内部空间布置大量的电子设备。基于某雷达系统总体布局,依据方舱集成安装设备的种类、数量、功能、功耗、体积、重量、特点、线缆关系等,采用机柜与显控台优先、空间利用率高、人机界面友好的指导原则对方舱内部设备布局进行了设计。该异型电子方舱内外结构布局设计合理,空间利用率高,具备约260U标准设备安装空间与 27kW 的散热能力,满足系统总体设计要求,可为同类电子方舱设备集成与方舱布局设计提供新思路。
摘要:为应对罐式运输物流行业对介质运输安全性的严苛要求,罐车制造正向高精度、高密封、高可靠性方向迭代。以某型铝合金液罐车为对象,围绕“拼板自动焊—包罐合拢—环缝焊接一车架装配—封头成形一总装调试”六大核心工序开展系统研究。通过明确各工序的焊接工艺参数(如电流、电压、焊丝规格)、装配精度指标(如缝隙偏差、直线度、同心度等)及检验标准,形成标准化工艺体系,该体系为罐车制造过程中的质量管控与效率提升提供理论支撑与实践指导,同时为罐车智能制造提供了可复制的技术路线。
摘要:绝缘栅双极型晶体管(IGBT)的结温是影响电动汽车驱动系统可靠性的关键参数。为解决传统估计方法精度不足的问题,提出了一种基于实时电热耦合估计与扩展卡尔曼滤波(EKF)的IGBT结温预测方法。首先,构建了一个高精度的电热耦合模型,该模型通过精确的功率损耗计算将逆变器的实时电气运行状态转换为热源;其次,针对模型不确定性,设计了基于EKF 的鲁棒结温观测器对结温状态的最优估计。基于MATLAB的仿真结果表明,与传统的Foster热网络开环估计方法相比,提出的EKF观测器将结温预测的均方根误差从 1.45°C 显著降低至 0.31°C ,平均绝对误差降低至 0.21°C 。
摘要:研究高阶自动驾驶在动态复杂场景下的决策控制与感知协同优化问题。系统梳理了基于模型预测控制(MPC)、自适应动态规划(ADP)与深度强化学习(DRL)的自适应控制算法优化路径,以及多模态感知融合、目标轨迹预测等动态场景感知技术。核心在于提出一种“感知-预测-控制”闭环优化框架,通过实时感知不确定性量化与场景语义理解,在线调整控制参数,从而增强系统应对突发状况的能力。基于CARLA仿真平台的实验验证表明,该框架在轨迹跟踪精度与安全性上均优于传统方法。
摘要:联邦学习作为一种新兴的分布式协同建模方法,已广泛应用于车联网场景,而异步联邦学习因其对节点延迟的弱依赖性和训练效率的显著提升,逐渐成为研究焦点。针对车联网通信链路不稳定、节点异构性强等实际问题,提出融合C-V2X边缘计算架构的异步联邦学习算法优化策略。试验结果表明,该优化策略在模型收敛速度、通信负载、鲁棒性和精度表现方面均优于传统联邦学习架构,验证了其在复杂动态车联网环境下的可行性与优越性。研究结论为构建高效、稳定、安全的车联网智能学习体系提供了理论支撑和技术路径。
摘要:随着智能汽车对高复杂度、高真实感测试场景需求的日益增长,传统单一建模方法在真实性、灵活性与效率上存在局限。为构建更高效可靠的虚拟测试环境,研究混合建模方法在智能汽车场景构建中的应用。该方法融合模型仿真与图像仿真技术,模型生成动态交互与物理逻辑,图像提供高真实感环境纹理,实现复杂静动态场景的统一构建与多传感器数据仿真。研究表明,混合建模显著提升了场景覆盖度与测试效率,有效支撑了感知算法验证与系统安全评估,为推动智能汽车仿真测试的发展提供关键技术路径。
摘要:对插电式混合动力汽车在不同海拔下的实际道路排放与能耗特性进行了研究。选取海拔 0m, 1300m 1900m 和 2400m 四个地区的实际道路环境,开展实际道路行驶排放(RDE)试验,获取排放数据,并分析能量消耗规律。结果表明:随着海拔升高, CO2 、CO及NO排放普遍增加,油耗上升约 32% ,有效热效率降低;高海拔地区空气稀薄、阻力减小,制动能量回收效率有所提升, 0m 与 1900m 下的回收比例分别为 79.65% 和 85.66% 。研究表明,海拔对混动汽车排放与能耗具有显著影响,可为高海拔地区车辆性能优化与控制策略制定提供参考。
摘要:针对激光雷达应用中存在的点云数据处理效率不高和聚类性能欠佳的技术难题,设计了一种自适应激光雷达目标检测方法。方案采用基于自适应射线坡度阈值的地面点云分割技术,在有效处理斜坡路面的情况下显著提高了分割计算效率;同时通过引入动态可调参数优化DBSCAN聚类算法,增强了远距离目标的聚类性能和算法适应能力。测试验证显示,该检测方案能够准确可靠地实现目标位置及深度信息的检测功能。
摘要:在四电机台架系统中对某混动电驱总成进行轴齿耐久试验过程中,出现了测功机轴承座振动异常增大及花键轴需要频繁对中的问题。从四电机台架系统原理与试验难点、试验过程与故障诊断,以及改善方法研究等方面进行论述,并结合阶次分析与轴系对中校核等手段,发现系统存在轴不平衡与轴对中跑偏问题。基于此提出了相应的改善方法,并进行了试验验证,试验结果表明:采用“滚轧成形 + 渗碳淬火 + 精密磨削”复合工艺并增加动平衡处理工艺的花键轴优化,以及在测功机底座四周加装刚性锁止块的结构抑制测功机发生位移的综合解决方案,试验过程中系统振动水平较之前显著降低且试验顺利完成。
摘要:随着全球能源危机与环境污染加剧,新能源汽车产业成为交通领域绿色转型核心。动力电池作为核心动力源,其性能稳定性、安全性与使用寿命直接决定车辆运行品质,科学维护技术是关键保障。基于动力电池工作特性与故障规律,梳理故障诊断、性能检测、核心维护工艺等技术体系,结合车载、储能回收等场景案例分析实践效果,探讨发展趋势与挑战,为行业技术升级及标准化建设提供参考。
摘要:针对新能源汽车锂离子电池热失控易引发的电芯间热蔓延问题,提出一种在汽车动力电池组隔热材料中实现气凝胶与陶瓷化填料梯度分布防护的方案。通过分析汽车动力电池热失控温度场分布特性,构建低导热气凝胶层与高温陶瓷化阻隔层的分级结构,实现不同温区的协同防护。采用分层配比与厚度优化工艺制备梯度结构,并进行热防护性能测试,验证其在高温灼烧和爆燃冲击下的防护效果,以期为提升汽车动力电池组防火性能提供技术参考。
摘要:针对新能源汽车所具备的专用车载通信和三电(电池、电机、电控)系统存在的协同性不够充足、数据交互延迟比较高、控制精度比较低等让人头疼等问题,结合新能源汽车技术发展方向,对两者协同控制机制以及实现路径开展深入的研究。采用CANFD通信协议和协同控制算法相互结合的方式来构建协同控制模型,通过车型案例进行测试以验证其有效性。研究显示,该技术能够把三电系统的数据交互延迟控制在 10ms 的范围之内,让整车能耗降低 8.5% ,使动力响应速度提升 12% ,为三电系统性能的优化提供技术方面的支撑,具备工程应用的价值。
摘要:为提升聚丙烯膜在新能源汽车电容器中的热稳定性与电气可靠性,通过调控冷却速率与拉伸温区来主导聚丙烯薄膜表面粗糙度的形成,同时辅以电晕处理增强表面极性,研究其表面形貌参数与电容稳定性之间的关联机理。研究采用扫描电镜、原子力显微镜等手段表征膜面形貌,并通过击穿强度、热收缩率、介电性能及老化电容保持率测试系统评估其性能。结果表明,膜面 Ra 值在 55~65nm 区间时可显著提升击穿场强、降低热收缩率、优化介电响应并提高老化保持率。研究揭示了薄膜形貌通过电场均化、应力调控与界面增强等路径协同提升电容稳定性的机制,为车规膜材设计提供工艺依据。
摘要:随着职业教育“以赛促教、以赛促学、以赛促改”理念深化,职业技能大赛已成为衔接汽车行业需求与专业教学的核心纽带。但多数职院汽车专业实训设备难以满足大赛“实战化、精准化、智能化”技能培养要求,制约教学质量。结合实训设备现状,剖析大赛标准,提出“标准导向、内容适配、教学实用”三位一体的设备改进原则及方法。研究表明,设备改进可兼顾常规教学与大赛故障设置需求,为培养行业所需高素质技术技能人才提供硬件保障。
摘要:聚焦人工智能时代汽车英语教学面临的新机遇与挑战,以吉利学院汽车英语教学为研究对象,探索将译后编辑融入汽车英语教学的有效路径。在界定核心概念和明确需求的基础上构建以人机协同为导向的教学模式。该模式明确了各层级教学目标,涉及了基于真实汽车英语语料的模块化内容,规划了线上线下融合的教学实践流程。研究旨在通过教学流程设计,引导学生转化知识学习角色,主动驾驭、评估与优化机器翻译产出,从而培养其在高技术语境下的专业语言应用能力与批判性思维。
摘要:汽车产业的发展趋势是电动化、智能化、网联化、共享化,新能源汽车和智能网联汽车的市场占有率越来越高,而车辆工程专业人才培养还是以传统车辆为主,已不能很好地适应产业发展。安徽科技学院车辆工程专业积极开展专业升级改造工作,汲取新工科的精髓,以工程教育专业认证为抓手,制定了最新的人才培养目标、课程体系和教学内容,深化产学研合作办学、合作育人,共建产学研基地,从而更好地服务安徽省新能源、智能网联汽车产业发展的需要。
摘要:随着新能源汽车产业的迅猛发展,如2023年新能源汽车产销分别完成了958.7万辆和949.5万辆,县域高职院校作为技术技能人才培养的核心阵地,迫切需要构建与地方产业精准对接的人才培养模式。丽水职业技术学院龙泉分院联合浙江大学龙泉产业创新研究院,全国首创机电一体化(汽车热管理)特色专业,通过“政产学研用”协同发力,构建起“需求共定、教材共建、师资共培、基地共享”的系统化育人体系,形成“产业需求一课程设置一人才培养一人才输出”的闭环模式。以该专业为研究对象,探析其人才培养模式的构建路径与实施成效,为县域高职院校依托特色产业培育高素质技术技能人才提供实践参考。